ТЯЖМАШТРЕЙД
энергетика инноваций
Устройство контроля изоляции УКИ предназначено для обнаружения нарушений изоляции кабельных или воздушных линий, приводящих к однофазным замыканиям на землю.
Устройство контроля изоляции УКИ представляет собой оборудование для обнаружения нарушений изоляции кабельных или воздушных линий, приводящих к однофазным замыканиям на землю.
В кабельных линиях однофазные замыкания на землю могут возникать при повреждении изоляции кабеля, а в воздушных линиях - при падении проводов на землю.
УКИ на номинальное напряжение 6-10 кВ представляет собой среднее между пунктом секционирования (реклоузером) и пунктом коммерческого учета электроэнергии, обладая похожими функциями и комплектацией.
В отличие от реклоузера, устройство контроля изоляции не имеет в своем составе коммутирующего аппарата (например, вакуумного выключателя), поэтому оно не отключает линию в случае нештатной ситуации, а только сигнализирует о ее возникновении.
УКИ может изготавливаться на базе стандартных пунктов коммерческого учета электроэнергии, однако, по сравнению с последними, не имеет в своем составе трансформаторов тока, поэтому не может реализовать функцию учета электроэнергии.
В сетях с изолированной или заземленной через дугогасительный реактор нейтралью в нормальном режиме работы напряжения всех трех фаз относительно земли равны фазному напряжению.
При однофазном замыкании на землю напряжение поврежденной фазы относительно земли будет равно нулю, а неповрежденных фаз увеличивается до междуфазного, то есть в 1,73 раза. Такие линии долго могут оставаться работоспособными, поэтому повреждение установить довольно трудно.
Однако, длительная работа в таком режиме недопустима, так как при возможном пробое (из-за повышенного напряжения) изоляции неповрежденной фазы возникнет двухфазное короткое замыкание с пагубными последствиями. Кроме того, замыкание на землю создает опасность для людей, находящихся вблизи места замыкания.
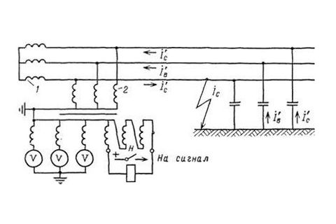
Для контроля используется трехфазная группа трансформаторов напряжения, имеющая две вторичные обмотки. Одна обмотка, соединенная в звезду, служит для измерения напряжения, вторая, соединенная в открытый треугольник с присоединенным реле, - для контроля изоляции (см. рисунок, щелкните для просмотра полной схемы).
В нормальном режиме на выводах этой обмотки напряжение близко к нулю. При замыкании на землю любой фазы в первичной сети симметрия напряжения нарушается, и на контрольной обмотке появляется напряжение, достаточное для срабатывания реле напряжения, которое сигнализирует о повреждении.
В то же время показание вольтметра на поврежденной фазе снизится почти до нуля, а показания вольтметров на двух неповрежденных фазах возрастут примерно в 1,73 раза, что позволит персоналу определить, на какой из фаз произошло замыкание.
Отправьте запрос в любой форме на электронную почту
Устройство УКИ состоит из высоковольтного и низковольтного модулей.
В состав высоковольтного модуля УКИ входит следующее оборудование (перечень указан для одного устройства УКИ):
В состав низковольтного модуля УКИ входит следующее оборудование:
Степень огнестойкости здания определяется пределами огнестойкости его основных конструктивных элементов. Для зданий с металлическим каркасом степень огнестойкости не может превышать II.