ТЯЖМАШТРЕЙД
энергетика инноваций
Камеры сборные одностороннего обслуживания (ячейки или камеры КСО) в настоящее время являются одним из наиболее популярных видов распределительных устройств 6-10 кВ.
Между тем, в технической литературе мы не найдем упоминания о них до начала 90-х годов, хотя первые конструкции ячеек КСО относятся к началу 60-х годов прошлого века.
Как же происходило развитие ячеек КСО?
В середине 60-х годов ХХ века в связи с бурным развитием энергетики, строительством каскадов ГЭС в Сибири и началом формирования Единой Энергосистемы (ЕЭС) остро встал вопрос унификации и снижения стоимости распределительного оборудования среднего напряжения (6-10 кВ). Тогда родилась концепция комплектных трансформаторных подстанций (КТП), которая сейчас (правда, уже по другим причинам) стала почти доминирующей.
Комплектные трансформаторные подстанции должны были состоять из унифицированных ячеек, выполняющих набор стандартных функций. На среднее напряжение такими ячейками должны были стать камеры КСО-2, а на низкое напряжение 0,4 кВ - панели ЩО-70.
Но, как это часто бывает, на начальном этапе развитие прогрессивной концепции сдерживалось из-за отсутствия необходимой элементной базы.
Основным коммутирующим устройством среднего напряжения в то время были масляные выключатели. Учитывая, что основные распределительные устройства 6-10 кВ проектировались на достаточно большие токи 1000-2000 А, габаритные размеры вакуумных выключателей получались довольно значительными.
Ширина самого масляного выключателя составляла 900 мм. Однако большой вес выключателя (300 кг) приводил к необходимости установки его на выкатную тележку. В результате ширина шкафа КРУ с выкатным масляным выключателем достигала 1360 мм, а глубина - 1650 мм при высоте 2850 мм. Понятно, что при таких габаритах обслуживание шкафов КРУ могло быть только двусторонним.
Для уменьшения габаритов распределительных устройств была разработана ячейка КСО-2. Ее принципиальным отличием от КРУ была малая глубина и возможность одностороннего обслуживания (что отражено в самом названии). Габариты ячейки КСО-2 составляли (ШхГхВ) 1000х1200х2800.
Чтобы уменьшить глубину камеры пришлось пожертвовать выкатной тележкой. Вакуумный выключатель стал стационарным. Это сразу породило проблему видимого разрыва.
По Правилам устройства электроустановок (ПУЭ) на время проведения ремонтных работ должен быть обеспечен видимый разрыв в электропитании. Когда тележка масляного выключателя выкатывалась, контакты автоматически размыкались, создавая тем самым требуемый видимый разрыв. Для обеспечения видимого разрыва в КСО с масляным выключателем пришлось добавить два разъединителя - шинный и линейный. Для отключения масляного выключателя использовался пружинный привод. В результате появилась ячейка КСО-2, которая стала прародительницей всех нынешних ячеек КСО-2хх (второй серии).
Из соображений безопасности сначала добавили заземляющие ножи линейного разъединителя, в результате появилась ячейка КСО-266, а затем и заземляющие ножи шинного разъединителя - ячейка КСО-272 (последние две цифры - год появления модели).
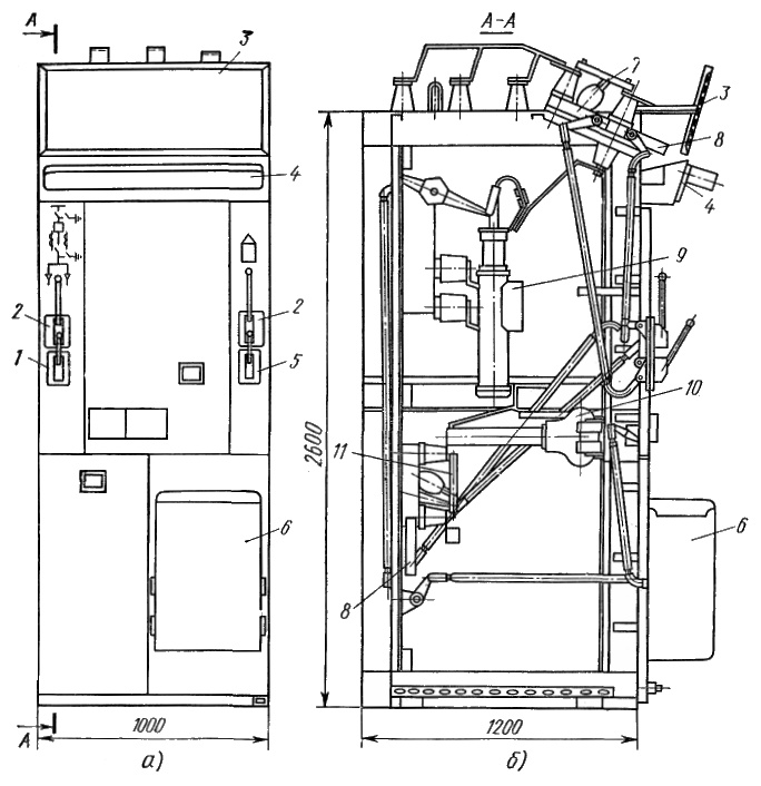
![]() |
| Ячейка КСО-272 (a - фасад, б - разрез): 1 и 5 - приводы шинного и линейного разъединителей, 2 - приводы заземляющих ножей, 3 - защитное ограждение, 4 - световой карниз, 6 - пружинный привод ППВ-10, 7 и 11 - шинный и линейный разъединители, 8 - заземляющие ножи, 9 - масляный выключатель ВМГП-10, 10 - трансформаторы тока. |
Поскольку габариты ячеек все еще оставались довольно большими, помимо КСО-2, были разработаны также ячейки КСО-3 с уменьшенными габаритами (ШхГхВ) 1000х1000х1860 для размещения оборудования, которое не требовало таких больших объемов, как масляные выключатели. В этих ячейках размещались: выключатели нагрузки, разъединители, предохранители, трансформаторы напряжения, разрядники.
Впоследствии, аналогично ячейкам КСО-266, были добавлены стационарные заземляющие ножи, что привело к появлению ячеек КСО-366.

Ячейки КСО-266 на масляных выключателях с пружинным приводом
производства 70-х годов XX века (в рабочем состоянии)
Рыночные реформы 90-х годов сыграли значительную роль в развитии ячеек КСО. На рынок вышло большое количество небольших самостоятельных потребителей электроэнергии. Их требования к номинальным потребляемым токам были гораздо ниже, чем у крупных промышленных предприятий эпохи Советского Союза. В результате на рынке стали доминировать комплектные трансформаторные подстанции мощностью до 630 кВА. Номинальные токи по стороне высокого напряжения (с учетом перехода напряжения с 6 кВ на 10 кВ) снизились с 1000 А до 100 А. Для работы в этих условиях вполне хватало выключателей нагрузки типа ВНА-10.
Для удовлетворения потребности в недорогом и сравнительно маломощном распределительном оборудовании уже не требовались серьезные производственные мощности. Распределительные устройства можно было изготавливать даже в кустарных условиях. На рынок электротехнического оборудования обрушилась лавина малых предприятий (с количеством работников менее 50 человек), которые стали выпускать распределительные устройства (и в частности, ячейки КСО) по собственным техническим условиям. Часто одно и то же изделие у разных производителей имело разные наименования (КСО-266, КСО-272, КСО-285, КСО-292, КСО-298, КСО-366, КСО-393 с различными индексами по названию производителя). Как следствие, номенклатура ячеек КСО увеличилась в десятки раз.
Среднее напряжение класса 6-10 кВ практически не используется конечными потребителями без преобразования (исключение составляют, пожалуй, только электродвигатели на насосных станциях). По этой причине большинство устройств среднего напряжения являются распределительными, а камеры КСО, как элементарные ячейки распределительных устройств выполняют ограниченный набор функций.
По своему назначению наиболее распространенными являются следующие типы ячеек: линейная, трансформаторная и секционная. В соответствии с названиями, линейные ячейки обеспечивают коммутацию и защиту входящих и отходящих линий, трансформаторные - подключение и защиту силовых трансформаторов, секционные ячейки - управляют вводом резерва. Кроме того, часто присутствуют вспомогательные ячейки, в которые, например, устанавливаются трансформаторы собственных нужд (ТСН).
Такая ограниченность функций позволила унифицировать однолинейные схемы ячеек КСО и создать альбомы типовых схем первичных соединений. По сути все схемы отличаются только наличием и расположением предохранителей и трансформаторов. Выбор конкретной схемы в том или ином случае определяется проектировщиком на основе требований к безопасности и личных предпочтений.
Логика наполнения ячеек элементами достаточно проста:
Используя приведенные выше правила можно легко разобраться в однолинейной схеме распределительного устройства, а также понять назначение органов управления ячеек КСО.

Камеры КСО-393 на выключателях нагрузки
Кроме функции коммутации и защиты линии и трансформаторов (с помощью предохранителей), ячейки КСО выполняют важную функцию защиты обслуживающего персонала от поражения электрическим током. Для этого в ячейках КСО предусмотрен целый ряд блокировок.
Состав блокировок регламентируется межгосударственным стандартом ГОСТ 12.2.007.4-75 "Система стандартов безопасности труда. Шкафы комплектных распределительных устройств и комплектных трансформаторных подстанций, камеры сборные одностороннего обслуживания, ячейки герметизированных элегазовых распределительных устройств".
Камеры КСО должны быть оборудованы заземляющими ножами, если это указано в стандартах или технических условиях на конкретные виды изделий.
Основные типы блокировок КСО:
В камерах КСО, которые снабжены заземляющими разъединителями, должна быть предусмотрена возможность запирания привода заземляющего разъединителя при включенных ножах при помощи замка.
Впервые столкнувшихся с ячейками КСО всегда удивляет наличие большого свободного пространства внутри ячеек, что кажется очень нерациональным. Однако, это является прямым следствием того, что в качестве изолятора используется воздушный промежуток. Расстояния между токоведущими поверхностями и от токоведущих поверхностей до заземленных проводников жестко регламентируются Правилами устройства электроустановок (ПУЭ). Эти правила многократно проверены практикой. Встречались случаи, когда в весенний и осенний период, при повышенной влажности воздуха, уменьшение расстояния между проводниками всего на 1 см приводило к межфазному пробою.
Массовое появление на рынке вакуумных выключателей, которые по коммутирующей способности не уступали масляным выключателям, но при этом имели в несколько раз меньшие габариты, произвело революцию в распределительных устройствах. Ячейки КСО второй серии КСО-2хх, а затем и третьей серии КСО-3хх стали активно переделывать под вакуумные выключатели...
Читайте далее:
Реклоузеры очень хорошо проявили себя при защите линий электропередач 6-10 кВ для обеспечения непрерывности электроснабжения потребителей электроэнергии.
При сравнительно небольших затратах результаты внедрения реклоузеров были столь впечатляющими, что в настоящее время электросетевые компании предписывают установку реклоузеров всем конечным потребителям электроэнергии.
Однако, в отношении реклоузеров на 35 кВ ситуация была не столь благополучная.